10218旭彩网

咨询服务热线

13353676726 13781984528

咨询服务热线

13353676726 13781984528

滚筒筛石机
滚筒筛石机
滚筒筛石机

【价格区间】:电议,面议

【处理能力】:根据用户要求选型

【适用物料】:矿石、石块、碎石

【产品别名】:滚筒筛、转筒筛、洗石机

石子滚筒分机筛简介 滚筒筛如何清网 结构特点 适用范围 筛分机的工作原理

石子滚筒分机筛简介:
石子是广泛上的说法,泛指小石头、小石块白石子、彩色石子、黑色石子、碎石、砾石、卵石等,它的大小、形状、及纹理都呈现不规则状态。它可能是因为天然原因,或是人为加以破坏之后产生。一般白石子、彩色石子、黑色石子粒径较小,运用与装饰工程,而碎石、砾石、卵石适用于结构,市政,公路,铁路等范围。

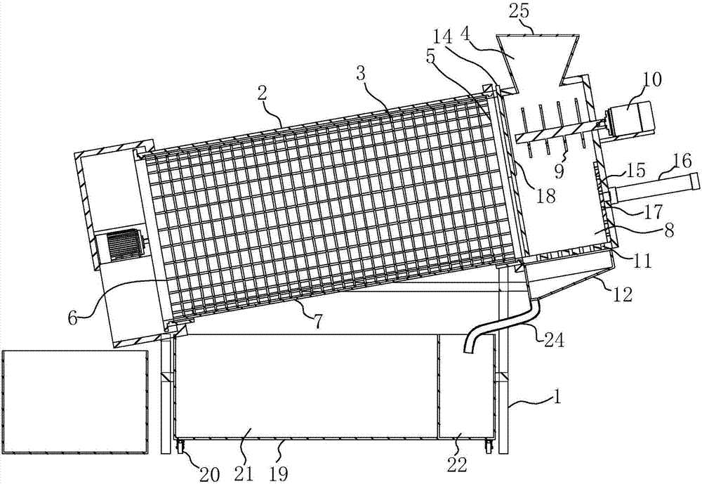
滚筒筛分机是通过变速箱式减速系统对设备中心分离筒实行合理旋转,中心分离筒是由若干个圆环状扁钢圈组成的筛网,中心分离筒安装是与地平面呈倾斜状态,工作中物料从中心分离筒上端进入筒网,在分离筒旋转过程中,细物料自上而下通过圆环状扁钢组成的筛网间隔中得到分离,粗物料从分离筒下端排出进入粉碎机。

石子滚筒分机筛简介


石子滚筒分机筛


石子滚筒分机筛简介3


石子滚筒分机筛简介23

滚筒筛如何清网:
设备中设有板式自动清筛机构,在分离过程中,通过清筛机构与筛体的相对运动,由清筛机构对筛体进行连续梳理,使筛体在整个工作过程中始终保持清洁,不会因筛孔堵塞而影响筛分效率。
滚筒筛分机是根据物料的颗粒大小进行分级处理的一种选矿设备,又被称为滚筒筛分机,因工艺布置简单,被广泛应用于矿山、建材、交通、能源、化工等行业的产品分级。常用在中、细粒物料的分级筛分,以提高物料的质量。奥创机械可根据用户的不同实际情况,可专业定制各种型号规格、各种振动方式的高级滚筒筛。

结构特点:

10218旭彩网 滚筒筛分机具有功率小,能耗低,筒内有自清扫装置,筛孔不易被堵塞;占用空间小,投资成本降低;运转平稳可靠; 筛分效率高; 产量大; 工艺布置简便,安装、维护方便,操作方便等特点。同时对物料的适应能力强,粘性、湿度大、脏、杂等各种性质的物料都能筛分,进料方式多样化,即人工方式和机械传动,能大批量生产,中心筛网采用环状扁钢圈设计,耐磨性好,使用寿命长,结构简单,维修方便。滚筒筛主要由滚筒装置,减速机,电机,筛内清理装置,底部支架,密封罩,出料口,进料口等组成。筒体呈倾斜放置,筒体被防尘密封罩罩住,生产过程中几乎物粉尘和噪音污染。

滚筒筛结构特点

适用范围:

滚筒筛主要针对物料的颗粒大小进行分级处理,广泛应用于电力、矿山、冶金、建材,化工等生产行业。常用于耐火材料,煤炭,砂场石块的分级,以及煤,焦炭,白灰,砂金矿等粘湿物料的筛选,使产品结构更匀整,以满足生产需要。

滚筒筛适用范围

筛分机的工作原理:
电机驱动滚筒轴线作旋转运动,减速机调节筒体以一定的转速旋转,物料由进料口进入筒体内,在旋转产生的离心力作用下,物料在筒内翻滚,自上而下通过分级筛网析出,由于筛网分级尺寸不同,物料逐渐被分离筛选,粒度合格的物料经筛分后落入到各自的漏斗,然后由人力方式运出或通过输送机自流送往成品站。合格产品经过下端出料口排出,颗粒较大,分选不合格的产品经另一排料口排出,筒内清理装置,使筛网不宜被阻塞。

滚筒筛工作原理
河南奥创机械从事各行业筛分设备,实力雄厚!竭诚欢迎国内外用户到厂考察!
订购网址请登录河南奥创机械有限公司官方网站:www.gpzds.cn 24小时服务热线:13353676726 

相关产品
版权所有:河南奥创机械
辉耀彩 - 首页 澳门灵蛇网4949-香港灵蛇网论坛资料大全最新-灵蛇网4846cc最新版本更新内容-灵蛇网4668cc-灵蛇澳门2025年今晚看 香港六玄开奖网-六玄网132432-六玄神马开奖44579-六玄公式6588777-六玄神马免费中特料-澳彩六玄网论坛6258cmcc welcome如意彩|首页 灵蛇澳门2025年今晚看-灵蛇网4846cc-灵蛇网免费资料大全--灵蛇网4846cc最新版本更新内容-澳门灵蛇网4949 天游8线路检测中心|欢迎您