
滚筒筛介绍:
滚筒筛是采矿、煤炭等行业发展所需求的设备,具有很广泛的适应性。主要适用于筛选煤矿石,砂岩,矿石等块状或粉状物料的分类,筛选和分级。可应用于采石场对大小石块或沙子进行筛选和分级实现砂石分离。煤矿场用于分离煤泥、煤块、煤粉、洗煤等的筛选和分类。
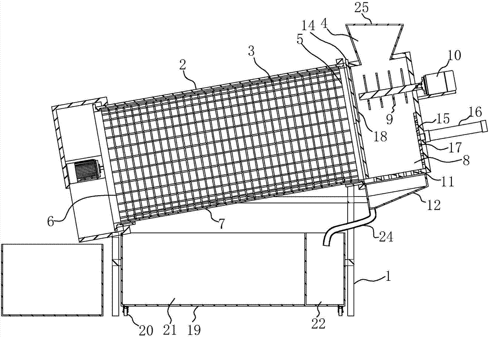
滚筒筛构成特点:
它由滚筒,框架,筛网,减速器和电机构成。采用新颖的结构,筛网由特殊钢材制成,有效避免了其他类型筛网筛分设备容易堵塞的问题,在筛选湿粘物料时,它有效地提高了筛选系统的稳定性和筛选效率。
滚筒筛特点
1、设计合理,结构简单,占用空间小,维护成本低。
2、相比振动筛价格要低。
3、独特的筛网设计,筛分率高,在筛选潮湿,粘稠的材料时不容易堵塞。运行稳定,生产效率高。
4、圆柱滚筒构造提供了更大的表面积,其具有更高的材料与筛网接触的面积。
5、设备可采用完全密封设计,以尽量减少操作过程中空气中细小物质的悬浮,避免工作环境污染。
6、坚固的机身,所有部件都使用更厚更坚固的材料, 具有很强的耐用性。
7、尺寸、容量和筛网层数可以定制。可定制双层或多层。
运行工作原理:
破碎的石材进入滚筒筛的滚筒内后,根据旋转滚筒的离心力进行工作,物料随着滚筒的旋转而被筛选,然后物料从配备不同大小的筛网孔筛出。较细的材料穿过筛孔,不同的物料落入不同的料斗中,大于筛网孔的石头沿着滚筒的斜面从滚筒筛出口排出。
选型参数表:

售后注意事项:
1、滚筒筛在运行前三天,每天都应该给滚筒筛检查紧固件,如果松动及时拧紧。
2、应及时检查轴承润滑油。一般情况下,每两个月填充一次润滑油。
3、物料处理量不宜过多,否则容易造成轴承过热而停机。
滚筒筛厂家提示:请通过正规渠道购买奥创输送机,以保障您的合法权益!
订购网址请登录河南奥创机械有限公司官方网站:netmop.com 24小时服务热线:13353676726