10218旭彩网

咨询服务热线

13353676726 13781984528

咨询服务热线

13353676726 13781984528

棉花滚筒除杂筛
棉花滚筒除杂筛
棉花滚筒除杂筛

【价格区间】:2万-10万

【处理能力】:根据设备直径和长度选型

【适用物料】:棉花除杂、石料、原煤等

【产品别名】:滚筒筛、除杂转筒筛、滚筒洗石机

除杂滚筒筛概述 滚筒筛特点 工作原理 结构组成 滚筒筛参数

除杂滚筒筛概述:

10218旭彩网 滚筒筛又被称为滚筒筛分机,滚筒筛是根据物料的颗粒大小进行分级处理的一种筛分设备,因工艺布置简单,被广泛应用于矿山、建材、交通、能源、化工等行业的产品分级。常用在中、细粒物料的分级筛分,以提高物料的质量。奥创机械可根据用户的不同实际情况,可专业定制各种型号规格、各种方式的滚筒筛。

棉花滚筒除杂筛

棉花滚筒除杂筛2

棉花滚筒除杂筛6

滚筒筛特点:
10218旭彩网 除杂滚筒筛分机具有功率小,能耗低,筒内有自清扫装置,筛孔不易被堵塞;占用空间小,投资成本降低;运转平稳可靠;筛分效率高;产量大;工艺布置简便,安装、维护方便,操作方便等特点。同时对物料的适应能力强,粘性、湿度大、脏、杂等各种性质的物料都能筛分,进料方式多样化,即人工方式和机械传动,能大批量生产,中心筛网采用环状扁钢圈设计,耐磨性好,使用寿命长,结构简单,维修方便。

工作原理:
除杂滚筒筛采用滚动输送原理,摩擦系数小,摩擦轻,筛孔不易堵塞。滚筒支撑采用整体通轴结构,运行平稳,不振动,噪音低。晟宇滚动筛内部滚筒筛网配件采用分体设计,结构简单,更换维修快捷方便。滚动筛采用特制耐磨钢板筛网,筛分效率高,使用寿命长,维护成本低。滚筒体采用有效的全封闭结构,粉尘不漏泄飞扬,使文明生产能可靠的保证。整机运行安全可靠,采用摆线减速传动,传动效率高,配带功率小,能耗低,节能效果明显。

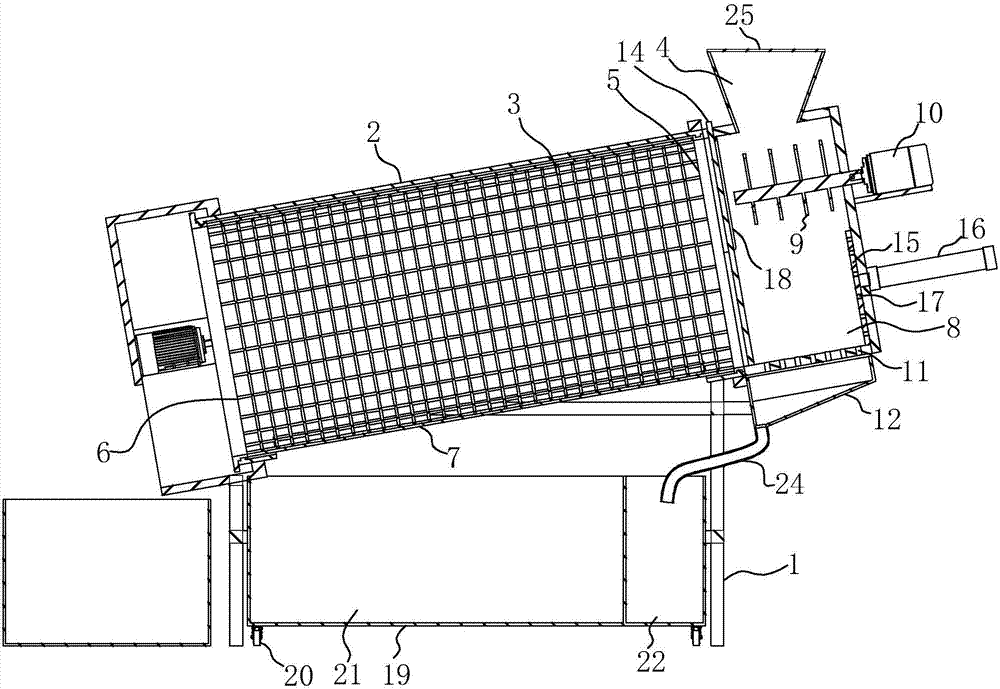
结构组成:

10218旭彩网 滚筒筛主要有电机、减速机、滚筒装置、机架、密封盖、进出料口组成。滚筒装置倾斜安装于机架上。电动机经减速机与滚筒装置通过联轴器连接在一起,驱动滚筒装置绕其轴线转动。当物料进入滚筒装置后,由于滚筒装置的倾斜与转动,使筛面上的物料翻转与滚动,使合格物料(筛下产品)经滚筒后端底部的出料口排出,不合格的物料(筛上产品)经滚筒尾部的排料口排出。由于物料在滚筒内的翻转、滚动,使卡在筛孔中的物料可被弹出,防止筛孔堵塞。

除杂滚筒筛外形结构图

滚筒筛参数:

除杂滚筒筛参数表

滚筒筛厂家友情提示:请通过正规渠道购买奥创滚筒筛,以保障您的合法权益!

河南奥创机械有限公司:netmop.com 24小时服务热线:13353676726

相关产品
版权所有:河南奥创机械
辉耀彩 - 首页 澳门灵蛇网4949-香港灵蛇网论坛资料大全最新-灵蛇网4846cc最新版本更新内容-灵蛇网4668cc-灵蛇澳门2025年今晚看 香港六玄开奖网-六玄网132432-六玄神马开奖44579-六玄公式6588777-六玄神马免费中特料-澳彩六玄网论坛6258cmcc welcome如意彩|首页 灵蛇澳门2025年今晚看-灵蛇网4846cc-灵蛇网免费资料大全--灵蛇网4846cc最新版本更新内容-澳门灵蛇网4949 天游8线路检测中心|欢迎您